Selasa, 08 April 2025

Rally Board 65 Setup - Cart Setup

Rally Board 65 Setup - Cart Setup


This article includes unboxing instructions and general setup steps for Rally Board 65 with the Rally Board Cart.

Assembly of Rally Board 65 Cart should be done with Rally Board 65 at the same time.  Assembly requires two persons to complete. The included Tabletop legs (2) and screws are not not used in setting up with Rally Board 65 Cart. 

If you plan to set up your Rally Board 65 for tabletop placement, please follow the steps in the Rally Board 65 Setup - Unboxing and Tabletop Setup post.

Table of Contents

Unboxing Rally Board 65

  • Rally Board 65 packaging is a standard sleeve style package with four locking clips.

  • IMPORTANT: No blades or box cutter should be used in opening the package

Preparing for Setup 

  1. Remove the packing material, leaving the main device held in place

  2. Tear and fold down the bottom cardboard flaps

  3. Tear and remove the bag over the main device

NOTE: Keeping the display in the packaging during setup is highly recommended as it will provide support while you attach the cart hardware.

Package Contents

  • Hub Assembly

  • Shelf Assembly

  • Rotation Arms x 2

  • Legs w/Casters x 2

  • Logo Back Panels x 2

  • Hub Covers x 2

  • Leg Mounting Bolts x 8

  • Shelf Mounting Bolts x 4

  • Rotation Arm Mounting Bolts x 12

  • Rotation Arm Keystone Bolts x 2

  • Shelf screw caps x4

  • H5 and H6 Hex Keys

Leg and Shelf Assembly

  1. Lock each caster on the two legs

  2. Lay one leg down, using the packaging block as shown.

  3. Insert the shelf assembly rods into the leg.

  4. Place a second leg on the shelf assembly rods

  5. Attach the second leg with two screws and the hex key

  6. Carefully, reposition the partial assembly upright

  7. Attach the first leg with two screws and hex key

Hub Assembly

  1. Lift and place the hub assembly on the two upright segments of the legs as shown

  2. Attach the hub assembly with eight screws and the hex key

  3. Check that all screws for shelf and hub assemblies are sufficiently tight and that the cart is stable

  4. Apply four shelf screw caps to cover shelf screws 

Rotation Arms

  1. Assemble two rotation arms to Rally Board 65 with six screws each with hex key as shown

Placing Rally Board 65

  1. Position the cart to allow placement of the assembled Rally Board 65 on the cart with cable management side remaining exposed as shown

  2. Ensure that the Rally Board 65 Cart casters are locked before proceeding

  3. With another person, lift Rally Board 65 with assembled rotation arms and place on the assembled Rally Board 65 Cart

  4. Secure the rotation arms to the Rally Board 65 Cart with two screws and the hex key

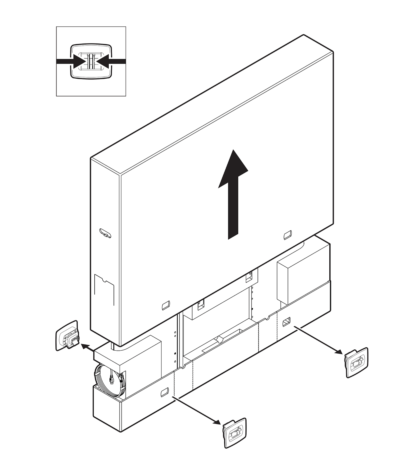
  5. Remove the back cover to expose the connectors

Connections

  1. Connect power cable

  2. Connect ethernet cable (optional, not included)

  3. Cable(s) may be routed cart leg as shown

  4. Replace the back cover

Covers

  1. Unlock the four casters

  2. Replace the back cover

  3. Place the logo cover

  4. Place the hub cover

Flip and Repeat

  1. Pull on the Hub Release (1) downward, hold down until flip is initiated

  2. Flip the Rally Board 65, grabbing from bottom front or top rear edge of the device

  3. Rotate Rally Board and Cart to access the back

  4. Place the second logo cover

  5. Place the second hub cover

Orientation

  • Rally Board 65 may now be used in either of two orientations based on changing needs:

    • Camera high position is typically best for standing use, with more interactions with the touch screen

    • Camera low position is typically best for seated use, with more video collaboration 

#VideoConference #Logitech #ConferenceCam #Webcam .


EmoticonEmoticon